|

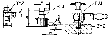
BGS型加油接头由BYZ型平头式油嘴及PJJ型对接头组成。将平头式油嘴接到润滑点,加油时把PJJ型对接头插入油嘴凹槽即可。加油快速可靠。
|
型号
|
d
|
|
BGS-1
|
R1/8
|
|
BGS-2
|
R1/4
|
|
BGS-3
|
R3/8
|


用来接在润滑点上,配用PJJ型平头式对接头可快速进行人工加油。


GGS型加油接头由GGZ型钩接式油嘴及GJJ型对接头组成。将钩接式油嘴接到润滑点,加油时把GJJ型对接头插入油嘴横销即可。加油快速可靠。
|
型号
|
d
|
|
GGS-1
|
R1/8
|
|
GGS-2
|
R1/4
|


用来接在润滑点上,配用GJJ型钩接式对接头可快速进行人工加油。


使在润滑点处既可以通过分配器集中供油,也可以进行人工加油。型号:STJZG1/4-2KZG1/4
接头中一个螺纹口接油嘴,另一个螺纹口接集中润滑系统中的分配器,外螺纹接向润滑点。

|