|

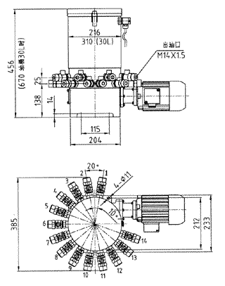
DDB型电动多点润滑泵是一种柱塞式润滑泵,带蜗轮减速装置,排量较小,可有1~14个出油口同时供油。最高工作压力31.5MPa。使用时出油口的位置可任意选用。各出油口可直接与润滑点连接,成为多线润滑装置;也可在某些出口处配以片式分配器将润滑剂定量地输送至各润滑点,就成为单线递进式润滑系统。DDB型泵安装方便可简化集中润滑系统。它应用于各种中小型机械设备的集中润滑。
规格型号及技术参数
|
规 格 型 号
|
公称压力MPa
|
每个出油口出油量ml/min
|
贮油筒容积L
|
电机功率KW
|
使用润滑剂
|
出油口数
|
|
黏度
|
针入度
|
| DDB-8L-1~14 |
31.5
|
1.7,3.2,5.3,9.6任选 |
8
|
0.18
|
≤N68 |
≥265 1/10mm(25°C) |
1~14
|
| DDB-30L-1~14 |
30
|
|